招商中心
适用于联众药械圈小程序,可发布和管理招商产品,查看代理申请等。
药直聘
适用于药直聘小程序,可发布和管理招聘职位,查看简历申请等。

联众药械圈 - 会员中心

切换账号密码登陆

联众药械圈 - 会员中心

切换手机验证码登陆

联众药直聘 - 会员中心

切换账号密码登陆
耗材全国联采,多省跟进

时间:2024-08-21 16:31 │ 来源:赛柏蓝器械 │ 阅读:1314

乳房旋切细分市场,即将开启全国降价。

01

乳房旋切针全国联采

开始数据填报

8月19日,四川省药械招标采购服务中心发布《川药招〔2024〕190号 关于开展乳房旋切针类医用耗材历史采购数据及需求采购数据填报工作的通知》。

同日,山西省药械集中招标采购中心也发布了《关于开展乳房旋切针类医用耗材历史采购数据和采购需求量填报等工作的通知》。

图片

图片

乳房旋切针集采是浙江牵头的全国性联盟带量采购,亦是今年的重点耗材全国联采项目。

根据上述两则通知,根据浙江省医疗保障局牵头组织开展乳房旋切针类医用耗材集中带量采购工作安排,启动乳房旋切针类医用耗材历史采购数据及需求采购数据填报工作。

产品范围:乳房旋切针类医用耗材(包括但不限于国家医疗保障局医保医用耗材分类与代码为C01040102600002开头的产品)。

填报内容包括医疗机构历史采购数据和医疗机构需求采购数据。

根据通知,各医疗机构填报本单位2023年7月1日-2024年6月30日实际采购本次填报范围内的医用耗材采购数量、采购单价等相关历史采购数据。本次填报范围内所有27位国家医保医用耗材代码对应产品的数量(单位:个),具体到规格型号,如同一个27位国家医保医用耗材代码对应的产品存在不同采购单价,填写最低价。

各医疗机构参考本单位填报范围内医用耗材产品历史采购情况,结合临床实际,填报2025年本次填报范围内医用耗材的需求采购数量。本次填报范围内所有27位国家医保医用耗材代码对应产品的数量(单位:个),具体到规格型号。各医疗机构填报的医用耗材需求采购总量原则上应不少于该医疗机构上报的历史采购总量总和的90%,如无法满足,需在系统内说明具体原因。

本次集中带量采购等工作依托浙江省牵头医用耗材省际联盟集中带量采购系统开展。系统开放时间为2024年8月19日9:00—8月29日17:00

02

国产厂家密集获批
这一微创细分市场迎变革

根据世界卫生组织下属国际癌症研究机构(IARC)数据,乳腺癌在全球范围内已超越肺癌成为第一大癌症。但早期乳腺癌往往不具备乳腺癌的典型症状和体征,影像学检测亦没有特异性表现,确诊有赖于活检。

乳房旋切针类耗材主要用于乳房恶性肿瘤术前活检穿刺、乳房良性肿瘤及其他部分乳房疾患的微创旋切手术。

根据国家癌症中心发布的数据,2015年至2020年,中国乳腺癌新发病例数从30.4万人增加到33.1万人,年复合增长率为1.7%,预计到2024年乳腺癌新增病例数将达到35.4万人。

与传统外科手术相比,乳腺微创手术优势凸显。随着医疗技术的普及和健康意识的增强,女性对早期乳腺癌的预防和筛查越来越重视,乳腺旋切系统及耗材的市场前景广阔。

据西山科技招股书测算,以《2021 中国卫生健康统计年鉴》中公示的乳腺外科主要疾病人数为基础,假设其中65%患者需要进行乳腺活检或良性组织切除,则估计2020年全国乳腺外科旋切手术数量约51.87万例。根据平均每台手术耗用量及该公司产品售价推算,一次性乳腺外科手术动力装置耗材的市场空间约4.56亿元/年

图片

在终端医院科室渗透率及每例手术使用耗材数量不变的情况下,假设乳腺外科在2020-2025年按照最近5年年均增长率增长,根据相同渗透率及产品价格测算,预计2025年市场空间约为6.32亿元/年。

此前,乳房旋切器械市场主要由跨国企业主导,涉足企业包括碧迪、巴德、丹纳赫等。耗材领域,近几年有多家国产厂家密集获批,目前相关企业主要有西山科技、半边天、上海修能等。

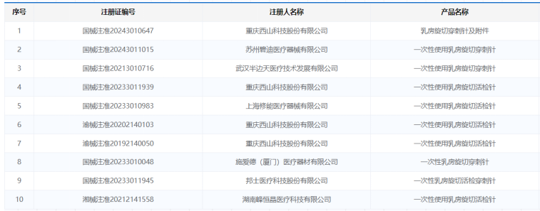
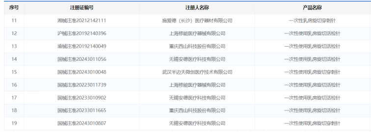
乳房旋切针相关获批企业见下表:

图片
图片
图片
(图源:国家药监局)

赛柏蓝器械梳理近期地方乳房旋切类耗材的医院采购情况了解到,一次性使用乳房旋切活检针单价多在2千元以上。

8月14日公布中标结果的安庆市立医院怀宁院区(怀宁县人民医院)第八批医用耗材配送服务采购(四包)项目中,半边天的双向真空辅助乳房活检与旋切系统配套耗材活检针单价为2980元。

8月12日签订合同的池州市人民医院一次性使用乳房旋切活检针等耗材采购项目中,重庆西山HJZXO7A/HJZXO7C/HJZXO7D一次性使用乳房旋切活检针,单价为2560.00元。

今年3月,娄底市妇幼保健院一次性使用乳房旋切活检针带量采购项目中要求,采购价不高于平台挂网价7折且不高于2500元/根。

单一医院的采购数量相对较少。而在全国联采之下,乳房旋切耗材市场将迎来一波降价潮。而长期来看,乳房旋切细分市场还将取得较快发展。


评论区